Telephone:
0577-67975099
Location:Home > News > Common problem > What company is SENAU a trademark of
Q: What is the trademark of SENAU? Is this a registered trademark? Has passed the registration?
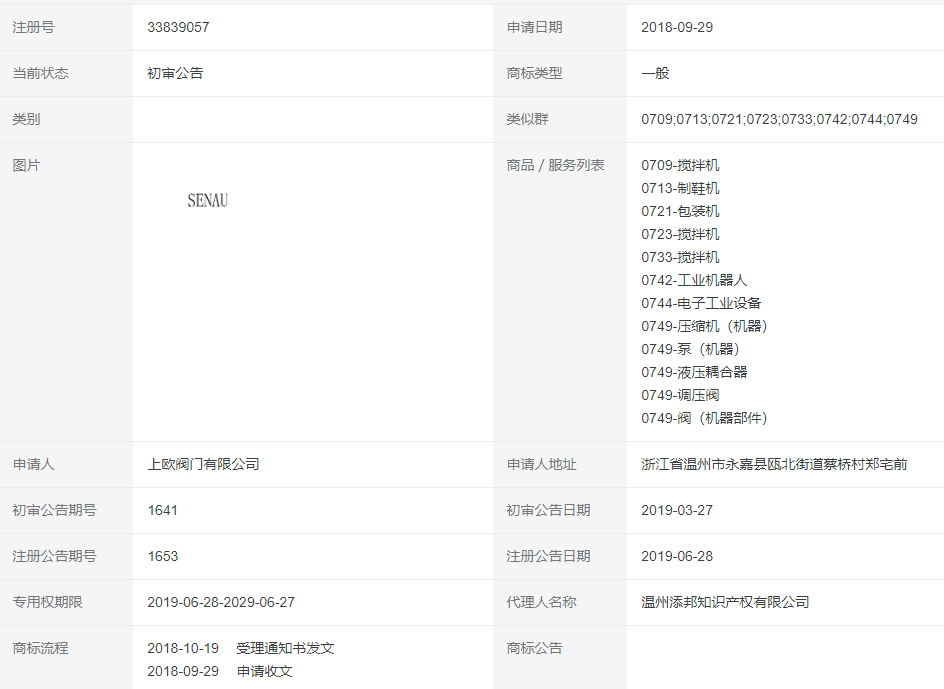
Answer: SENAU is the registered trademark of Shanghai Ou Valve Co., LTD., China. The trademark is owned by Shanghai Ou Valve Co., LTD., approved by the Trademark Office for examination and approval. It is used in mechanical related fields.
0709 - a blender
0713 - shoe machine
0721 - packing machine
0723 - a blender
0733 - a blender
0742-Industrial robots
0744-Electronic industrial equipment
0749- Compressor (machine)
0749-Pump (machine)
0749- Hydraulic coupler
0749 - pressure regulating valve
0749-Valve (Machine parts)

The above industry for the common industry, any for the unauthorized use of the trademark is strictly prohibited, the violation of its legal responsibility!
Fast Navigation
Product Line
Recommended Products
Technical Support
Copyright:Shangou valve co., Ltd. Record No: ;Record No:Zhejiang ICP preparation No. 17010567-5;  Sitemap Manage Login
Friendship Links: Sogou Baidu Environmental protection online shangou valve